Código QR
Sobre nosotros
Productos
Contáctenos

Teléfono

Fax
+86-574-87168065

Correo electrónico

DIRECCIÓN
Área industrial de Luotuo, distrito de Zhenhai, ciudad de Ningbo, China
Si está ejecutando maquinaria pesada, como las fábricas de acero que producen metal, todo cambia, las grúas levantan toneladas de material o el equipo minero que lucha contra el polvo y la presión bajo tierra, necesitas un acoplamiento que no te decepcionará. Para eso se crea exactamente el acoplamiento universal SWC-BH SWC-BH SWC-BH Tipo de soldadura universal: transmisión de par confiable, incluso cuando el trabajo se pone duro.
En primer lugar, hablemos de su diseño. El yugo soldado no es solo una característica, es un cambio de juego. A diferencia de los yugos atornillados que pueden aflojarse con el tiempo, este es sólido soldado, por lo que no hay riesgo de que las piezas se agiten cuando su maquinaria trabaja duro. Y también se ajusta a una gama de configuraciones, con diámetros de giro de 180 mm a 620 mm, sin necesidad de buscar una opción única. Como un acoplamiento universal flexible estándar, maneja hasta 15 grados de desalineación angular, lo que significa que si sus ejes no están perfectamente alineados (y seamos reales, rara vez lo son), todavía mantiene la potencia en movimiento. Incluso cuando el torque golpea 1250 kN · m, poderoso poder, se mantiene estable, sin tortugas, sin gotas.
Tampoco escatimos en materiales. Esta cosa está hecha con acero 35crmo: cosas de alta resistencia que resiste el desgaste, incluso cuando se golpea en una mina o se calienta cerca de un molino. Además, ponemos cojinetes de aguja de precisión, por lo que se mueve suave, reduce la fricción y dura mucho más que los acoplamientos más baratos. Es por eso que es una opción para los acoplamientos universales para maquinaria pesada, no solo funciona durante unas pocas semanas; Se adhiere, manteniendo su equipo en funcionamiento. ¿Y si necesita acoplamientos universales soldados para aplicaciones industriales? Esto es todo: el diseño soldado maneja la vibración y el estrés mejor que las alternativas atornilladas, por lo que pasa menos tiempo arreglando y más tiempo trabajando.
En Raydafon, los hacemos en China, pero no cortamos esquinas en calidad. Cada paso sigue los estándares ISO 9001: verificamos el acero, inspeccionamos las soldaduras, probamos los rodamientos, así que sabes que estás recibiendo un acoplamiento que cumple con las reglas de calidad global. ¿Y si su configuración es un poco diferente? Hacemos ajustes personalizados, ajustando el tamaño, ajustar las especificaciones, lo que sea que necesite para que se ajuste. ¿La mejor parte? No tiene un precio como una parte de lujo. Obtienes un acoplamiento universal duradero que funciona duro, sin pagar una fortuna. Para cualquiera que no pueda pagar el tiempo de inactividad, este acoplamiento SWC-BH es el tipo de pieza confiable que mantiene su maquinaria en movimiento, día tras día.
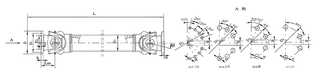
| No. | Diámetro de giro D mm | Torque nominal Tennesse KN · M | Ángulo de pliegue de hachas β (°) | Torque cansado TF KN · M | Tamaño (mm) | Inercia giratoria KG.M2 | Peso (kg) | |||||||||||
| Lam | D1 (JS11) | D2 (H7) | D3 | Lm | Dakota del Norte | k | t | b (H9) | g | Lam | Aumentar 100 mm | Lam | Aumentar 100 mm | |||||
| Swc100wh | 100 | 1.25 | 0.63 | 25 ° | 243 | 84 | 57 | 60 | 55 | 6-9 | 7 | 2.5 | - | - | 0.0039 | 0.00019 | 4.5 | 0.35 |
| SWC120WH | 120 | 2.5 | 1.25 | 25 ° | 307 | 102 | 75 | 70 | 65 | 8-11 | 8 | 2.5 | - | - | 0.0096 | 0.00044 | 7.7 | 0.55 |
| SWC150WH | 150 | 5 | 25 | 25 ° | 350 | 130 | 90 | 89 | 80 | 8-13 | 10 | 3 | - | - | 0.371 | 0.00157 | 18 | 24.5 |
| SWC180WH | 180 | 12.5 | 6.3 | 25 ° | 180 | 155 | 105 | 114 | 110 | 8-17 | 17 | 5 | - | - | 0.15 | 0.007 | 48 | 2.8 |
| SWC225WH | 225 | 40 | 20 | 15 ° | 520 | 196 | 135 | 152 | 120 | 8-17 | 20 | 5 | 32 | 9 | 0.365 | 0.0234 | 78 | 4.9 |
| SWC250WH | 250 | 63 | 31.5 | 15 ° | 620 | 218 | 150 | 168 | 140 | 8-19 | 25 | 6 | 40 | 12.5 | 0.817 | 0.0277 | 124 | 5.3 |
| SWC285WH | 285 | 90 | 45 | 15 ° | 720 | 245 | 170 | 194 | 160 | 8-21 | 27 | 7 | 40 | 15 | 1.756 | 0.051 | 185 | 6.3 |
| SWC315WH | 315 | 125 | 63 | 15 ° | 805 | 280 | 185 | 219 | 219 | 10-23 | 32 | 8 | 40 | 15 | 2.893 | 0.0795 | 262 | 8 |
| SWC350WH | 350 | 180 | 90 | 15 ° | 875 | 310 | 210 | 267 | 194 | 10-23 | 35 | 8 | 50 | 16 | 5.013 | 0.2219 | 374 | 15 |
| SWC390WH | 390 | 250 | 125 | 15 ° | 955 | 345 | 235 | 267 | 215 | 10-25 | 40 | 8 | 70 | 18 | 8.406 | 0.2219 | 506 | 15 |
| SWC440WH | 440 | 355 | 180 | 15 ° | 1155 | 390 | 255 | 325 | 260 | 16-28 | 42 | 10 | 80 | 20 | 15.79 | 0.4744 | 790 | 21.7 |
| SWC490WH | 490 | 500 | 250 | 15 ° | 1205 | 435 | 275 | 325 | 270 | 16-31 | 47 | 12 | 90 | 22.5 | 26.54 | 0.4744 | 1014 | 21.7 |
| SWC550WH | 550 | 710 | 355 | 15 ° | 1355 | 492 | 320 | 426 | 325 | 16-31 | 50 | 12 | 100 | 22.5 | 48.32 | 1.357 | 1526 | 34 |
Si está cansado de lidiar con acoplamientos quisquillosos que ralentizan su trabajo o se rompen cuando más los necesita, el SWC-WH de Raydafon sin el acoplamiento universal de tipo soldadura flexible es un cambio de juego. Está repleto de ventajas que lo convierten en una elección superior para cualquiera que necesite transmisión de par suave en sistemas mecánicos, sin pasos de soldadura confusos, solo un rendimiento sólido que se ajusta directamente a su flujo de trabajo.
En primer lugar, instalar esto es mucho más fácil de lo que piensas. A diferencia de los acoplamientos soldados que lo obligan a traer herramientas adicionales o esperar a que se establezcan las soldaduras, el SWC-WH usa un diseño Bolt-On. ¿Puede colocarlo en su configuración existente rápidamente y cuando es hora de mantenimiento? Desmontarse es muy fácil, por lo que su equipo industrial pasa menos tiempo inactivo. Es por eso que es un gran acoplamiento de articulación universal de alto torque versátil: sin dolores de cabeza por tiempo de inactividad, solo entra, arregla lo que necesitas y vuelve a trabajar.
En cuanto a la durabilidad, está construido para resistirlo. Utilizamos materiales de servicio pesado que manejan grandes cargas y vibraciones constantes sin estremecer, perfectos para lugares industriales ocupados donde el equipo nunca realmente se rompe. Y dado que no hay soldadura, no tiene que preocuparse por esos puntos débiles que aparecen cuando las soldaduras se desgastan con el tiempo. Este no es un acoplamiento que necesitará reemplazar cada pocos meses; Es un acoplamiento de articulación universal confiable para maquinaria industrial que se queda, manteniendo sus operaciones estables.
Desalineaciones? Ningún problema. Los ejes nunca permanecen perfectamente alineados, especialmente en los sistemas automotrices o de transporte, pero el SWC-WH maneja las desviaciones angulares, axiales y radiales como un Pro. Es el tipo de acoplamiento de la junta universal del eje de transmisión que mantiene la energía en movimiento sin problemas incluso cuando la alineación se vuelve inestable, sin mudanzas, sin gotas, solo un rendimiento constante.
Y hablemos de costos. La soldadura agrega mano de obra adicional y tarifas de materiales, pero este acoplamiento omite todo eso. Obtiene un producto de calidad sin gastar demasiado, lo cual es una gran victoria para cualquier presupuesto. Incluso en lugares difíciles como las configuraciones marinas, donde la corrosión es una amenaza constante, se considera como un acoplamiento de la articulación universal marina confiable, directamente contra el agua salada, fácil para su billetera.
Si te gusta la energía renovable, este acoplamiento también encaja perfectamente. Es un acoplamiento de articulación universal sólido para equipos de energía renovable que mueve la energía de manera eficiente, sin apenas desechos. Además, es ligero, por lo que no pesa su sistema, como para mantener las cosas que funcionan de manera sostenible sin sacrificar el rendimiento.
En Raydafon, no solo vendemos acoplamientos, hacemos los que se ajustan a sus necesidades. El SWC-WH es personalizable, por lo que funciona exactamente como lo desea. Si tiene curiosidad por saber cómo puede hacer que sus operaciones sean más suaves, simplemente ve a nuestro equipo. Lo guiaremos a través de él, no hay jerga, solo hable directamente sobre lo que este acoplamiento puede hacer por usted.
El SWC-WH de Raydafon sin el acoplamiento universal de tipo de soldadura FLEX funciona con el conocimiento básico de la mecánica de las articulaciones de Cardan, pero lo hemos modificado para que se acerten más para los trabajos industriales. El punto entero? Obtenga el torque en movimiento suavemente entre dos ejes que no están perfectamente alineados, incluso cuando están en ángulo. Como un acoplamiento universal de articulación SWC Cardan de SWC especialmente construido, utiliza una pieza en forma de cruz en el medio para mantener la potencia de rotación que fluye constante, excepto por qué es un acoplamiento de articulación universal de alto torque para un trabajo resistente como molinos o maquinaria de elevación.
Desglosemos el núcleo de cómo funciona: hay dos yugos bifurcados, y están conectados por una cruz central (lo llamamos una araña). Esta configuración permite que los yugos pivote en múltiples direcciones, así que incluso si los ejes se compensan hasta 25 ° (ese es su ángulo de pliegue de eje máximo), el par todavía se pasa de manera uniforme. También tiene especificaciones para respaldar eso: los diámetros de giro varían de φ58 a φ620, y maneja el par nominal de 0.15 a 1000 kN · m. Cuando lo está utilizando como un acoplamiento de unión universal de servicio pesado para operaciones de molinos de rodadura, este diseño significa que la rotación de entrada se convierte en movimiento de salida sin un enganche: aquellas articulaciones articuladas giran por su cuenta para compensar desalineaciones, sin interrupciones.
¿Qué hace que la parte de "sin soldadura flexible" sea importante? Cambiamos soldaduras por conexiones atornilladas o sujetas. Las soldaduras pueden ser puntos débiles con el tiempo, pero estos sujetadores reducen los riesgos de falla, y también hacen que el acoplamiento sea mucho más fácil. Este acoplamiento de articulación universal industrial también tiene un diseño de cabezal de horquilla mejorado que evita que los pernos se aflojen, lo que aumenta su resistencia estructural en un 30%-50%. Eso es un gran problema para lugares exigentes como minas o sitios de construcción, donde actúa como un acoplamiento de eje de articulación universal SWC duradero, sosteniendo bajo cargas pesadas sin ceder.
La eficiencia es otra victoria aquí: alcanza hasta un 98.6% de eficiencia de transmisión. Diseñamos cada parte para reducir la fricción y el desperdicio de energía, por lo que no es sorprendente que sea un acoplamiento de articulación universal eficiente para una gran transmisión de energía en configuraciones industriales de alta potencia. Y corre en silencio: generalmente 30-40 dB (a). Eso es gracias a la rotación equilibrada y la amortiguación de vibración incorporada, lo que lo convierte en un acoplamiento de unión universal de bajo ruido para lugares donde el ruido es un problema. Además, mantiene bajos los costos de energía, por lo que verifica la casilla para las necesidades de acoplamiento de unión universal de ahorro de energía también.
En los sistemas de acoplamiento de articulaciones universales de maquinaria pesada, esto es más importante: el SWC-WH extiende fuerzas de manera uniforme en todas sus partes. Ninguna pieza toma demasiada tensión, lo que significa menos descomposiciones y una vida más larga. En Raydafon, no solo construimos este acoplamiento para cumplir con las especificaciones: lo adaptamos a trabajar para su trabajo, ya sea una maquinaria pesada resistente o configuraciones industriales especializadas. Si desea ajustarlo para que su sistema funcione más suave o dure más, solo hable con nuestro equipo; lo ayudaremos a obtener una configuración que se ajuste exactamente a lo que necesita.
⭐⭐⭐⭐⭐ Zhang Wei, ingeniero mecánico, Beijing Industrial Machinery Co., Ltd.
Hemos tenido el acoplamiento universal del tipo de soldadura de Raydafon sin el tipo de soldadura Flex en nuestro equipo de producción durante unos meses, y ha sido un desempeño estable, especialmente cuando empujamos nuestras máquinas para manejar cargas altas. Lo que realmente aprecio es su construcción robusta: incluso en esos cambios largos y exigentes donde otras partes pueden comenzar a vacilar, este acoplamiento mantiene las cosas funcionando sin problemas, sin vibraciones aleatorias, sin fallas repentinas que arrojen toda nuestra línea.
La instalación también fue muy fácil. Nuestro equipo no necesitaba pasar horas descubriendo pasos complejos; Lo montamos rápidamente y no he tenido que ajustarlo desde entonces. Para el equipo de servicio pesado como el nuestro, la confiabilidad y la calidad no son negociables, y este acoplamiento verifica ambas casillas. Raydafon ha demostrado que son un socio con el que podemos contar aquí: estamos realmente contentos con la forma en que este producto se mantiene.
⭐⭐⭐⭐⭐ John Smith, gerente de planta, Florida Manufacturing, EE. UU.
Puse el acoplamiento SWC-WH de Raydafon en nuestras instalaciones de Florida hace unos meses, y ha sido exactamente lo que necesitábamos: simple, sin complicaciones y consistentemente efectivo. La transmisión de energía se mantiene estable, lo cual es clave para mantener nuestra producción en el ritmo, y no hemos tenido que tocarla para mantener una vez. Esa es una gran victoria para nosotros; Menos tiempo arreglando piezas significa más tiempo para hacer el trabajo.
Incluso cuando estamos ejecutando las máquinas con fuerza, bajo alto estrés, este acoplamiento no se estremece, simplemente sigue adelante. La instalación también fue sencilla; Nuestros técnicos lo tenían configurado en poco tiempo. ¿Y cuando combina esa actuación con un precio razonable? Es un valor sólido. Además, la atención al cliente de Raydafon fue de primera categoría cuando tuvimos una pregunta rápida: nos volvieron rápidamente rápidamente. Sin duda seguiremos usando sus productos en el futuro.
⭐⭐⭐⭐⭐ Roberto Silva, director de operaciones, São Paulo Engineering Solutions, Brasil
Nos hemos asociado con Raydafon por un tiempo, pero su acoplamiento SWC-WHN sin flexión realmente se ha destacado en nuestras operaciones; ha demostrado que vale la pena una y otra vez. Lo primero que notas es su construcción sólida; Se siente construido para durar, y eso se traduce en un rendimiento confiable en nuestra maquinaria.
Antes de cambiar a este acoplamiento, estábamos lidiando con el tiempo de inactividad frecuente de los problemas de desalineación y el desgaste prematuro en nuestras piezas antiguas. ¿Ahora? Esos problemas se han ido. Ha reducido el tiempo de inactividad, lo que ha sido un gran impulso para la productividad. E instalación? Súper fácil: nuestro equipo no perdió la configuración de la solución de problemas de tiempo. Para cualquier empresa que necesite piezas de transmisión de energía en la que puedan confiar, esta es obvia. Lo recomendaría absolutamente.
⭐⭐⭐⭐⭐ Peter Müller, supervisor técnico, Stuttgart Manufacturing GmbH, Alemania
Hemos estado utilizando el acoplamiento SWC-WH de Raydafon en nuestras instalaciones de producción de Stuttgart durante más de seis meses, y ha sido impecable, en serio, ni un solo problema todo el tiempo. Su diseño es sencillo, lo que hace que la instalación sea fácil; Nuestro equipo lo tenía y listo para ir en poco tiempo, sin pasos complicados o herramientas especiales.
Sin embargo, lo que realmente me impresiona es la calidad. La soldadura es limpia y fuerte, y los materiales se sienten de alto grado, se puede decir que no cortaron esquinas. Se mantiene perfectamente bajo uso regular, mostrando cero signos de desgaste incluso después de meses de operación continua. Estamos más que contentos con cómo funciona este producto, y ya está en nuestra lista para usar para futuros proyectos.
DIRECCIÓN
Área industrial de Luotuo, distrito de Zhenhai, ciudad de Ningbo, China
Teléfono
Correo electrónico


+86-574-87168065


Área industrial de Luotuo, distrito de Zhenhai, ciudad de Ningbo, China
Copyright © Raydafon Technology Group Co., limitado todos los derechos reservados.
Links | Sitemap | RSS | XML | política de privacidad |
